根据《业余无线电台管理办法》和江西地区申请要求设计指导
准备申请材料
在开始填写申请表前,请确保准备好以下材料:
基本材料(所有申请人):
- 无管申请表(新表或老表)
- CRAC协会操作证(新证旧证均可)
- 身份证明文件(中国公民身份证等)
未成年人额外材料:
- 监护人身份证复印件
- 户口本(监护人及本人页)
- 申请表签名处需要监护人签名及申请人本人签名
2.如何填写无管申请表(偏向江西地区其他地区的仅作参考)
这里是站长填写申请表填写的内容(被红色的方格圈起来的是需要填写的)


3.填写表格注意事项
第一张
1申请人基本信息
1.申请人:填写你的名字
2.统一社会信用代码:不需要填写这个是给公司填写的
3.身份证证明类型:是居民身份证就是填写s
(其他为
s:华人民共和国居民身份证、临时居民身份证或者户口簿、外国人永久居留身份证
j:中国人民解放军军人身份证件、中国人民武装警察身份证件
t:港澳台居民居住证、港澳台居民出入境证件(包括港澳居民)来往内地通行证、台湾居民来往大陆通行证)
w:外国公民护照
Q:法律、行政法规和国家规定的其他有效身份证件
)
4.手机号:填写常用的就行
5.电子邮箱建议填写QQ邮箱
6.邮政编码:不需要
7.通信地址:填写你的居住地址(请精确到楼层)
8.申请人或技术负责人操作技术能力类别:这里填写你的操作证等级(a,b,c)和在智谱上面查到的编号(A开头为a证其他等级同理)
2.业余无线电台基本信息
1.站台名称:您的名字+超级短波业余无线电台
2.申请类别:根据实际情况来 这里选择新设
***注释***
新设=新设台,变更=变更设备和台址/设置区域,延续=电台执照达到了5年期限需要更换
3.使用方式:这里推荐选择背负或者手持(有特殊需求会更麻烦,反正如果出现(意思为)固定地址(非必填)都不要填写或者填一个横杆)
4.台址/设置区域:最好选择省际涉外
***********(这个需要在扫描后添加原因书,在后面附页会讲)************
5.地理坐标:不予填写全部用横杆划去
6.车牌号:横杆划去
7.电台种类:业余无线电台请填写一般
8.首次启用时间:写这张日期(后面如果需要变更或续期都已这个日期为准)
9.使用时间:通常执照使用时间为5年有效期,请从写这张纸的日期开始往后推5年
10.是否同时申请呼号:新申请请填是
********变更或延续请填写否,否则你的原呼号会被压替********
11.原指配呼号:这里如果是新申请的就填写新申请 如果有的话请填写你现在的呼号
12.原电台执照:这里如果是新申请的就填写新申请 如果有的话请填写你现在的执照编号
3.业余无线电台基本参数
1.发射设备型号核准🐎:发射核准🐎在你购买了电台设备的电池后面 为CMIIT ID 英文单词后面的一窜编码
2.设备出厂序号:在你购买了电台设备的电池后面 为S/N的标识后面
3.占用频宽可以不需要填写(短波和一些特殊频率的需要填写)
4.天线增益(dBi):UV段都填写8.15
5.极化方式:UV为为垂直线极化
6.天线距离地面高度:统一5米
7.工作频率:
选择144-146和146-148和430-440
*****可以玩的到的再添,不要瞎几把乱填不然,包不过的****
填写申请表
按以下说明填写业余无线电台设置、使用申请表:
申请人基本信息:
- 申请人: 填写您的姓名
- 身份证明类型: 普通公民填写 “S”(居民身份证)
- 手机号: 常用联系电话
- 电子邮箱: 推荐使用QQ邮箱
- 操作技术能力类别: 您的操作证等级(A/B/C)及编号
电台基本信息:
- 台站名称: 您的名字 + 超级短波业余无线电台
- 申请类别: 新申请选择”新设”
- 使用方式: 推荐选择”背负或手持”
- 台站/设置区域: 选择”省际涉外”(需附加说明)
- 是否申请呼号: 新申请选择”是”
重要注意事项:
- 地理坐标、车牌号:用横杆划去
- 首次启用日期:填写申请日期
- 使用期限:从申请日期起5年
- 原呼号/执照:新申请填写”新申请”
设备参数填写
正确填写您的业余无线电台设备参数:
基本参数:
- 型号核准码: 设备电池处的CMIIT ID编码
- 设备出厂序号: S/N标识后的序列号
- 天线增益: UV段填写8.15 dBi
- 极化方式: UV段选择”垂直线极化”
- 天线高度: 统一填写5米
工作频率选择:
仅填写您实际能使用的频率范围:
- 144-146 MHz
- 146-148 MHz
- 430-440 MHz
不要随意填写未授权频段!
发射设备:宝峰BF-5RH
重量:240g 尺寸:103×55×34mm
天线:名古屋771天线
第二张
承诺与提交
完成申请表的最后步骤:
申请人承诺部分:
- 仔细阅读所有承诺条款
- 在申请人签字处手写签名(未成年额外需要监护人的签名)
- 填写日期(与前面日期一致)
附加页
省际涉外的申请书(放在在无管表的最后一页)

省际涉外附加说明:
如果选择”省际涉外”,需附加说明材料:
- 标题:跨省级行政区域设置、使用业余无线电台
- 包含设备型号、重量、尺寸等技术参数
- 说明移动架设的必要性
文件提交:
- 打印申请表并手写填写
- 手写签名并填写日期
- 扫描为PDF文件
- 附加省际涉外说明(如有)
- 通过江西工信厅业余无线电申请入口提交
跨省级行政区域设置、使用业余无线电台
关于 你的名字(呼号 你的呼号,没有的话填新申请)跨省级行政区域设置、
使用业余无线电台必要性说明材料
一、跨省级行政区域设置、使用业余无线电台的技术条件
为实现业余无线电台背负式移动架设,使用便携背包等方式,业余无线电台型号 宝峰BF-5RH,重量240g ,外观尺寸 103×55×34mm;天线型号 名古屋771天线,
宝峰UV5R重量 200g,外观尺寸 120×57×37mm;原装天线
***********************************************************************************************************************************
最后这个些写好的文件需要处理成一个pdf文件(排序为 1.无管表 2.省际涉外的申请书等)
最好就是无管表打印成纸扫描为pdf格式 省际涉外的申请书后面加上去
根据江西的工信厅提交方法江西工信厅业余无线电申请执照入口
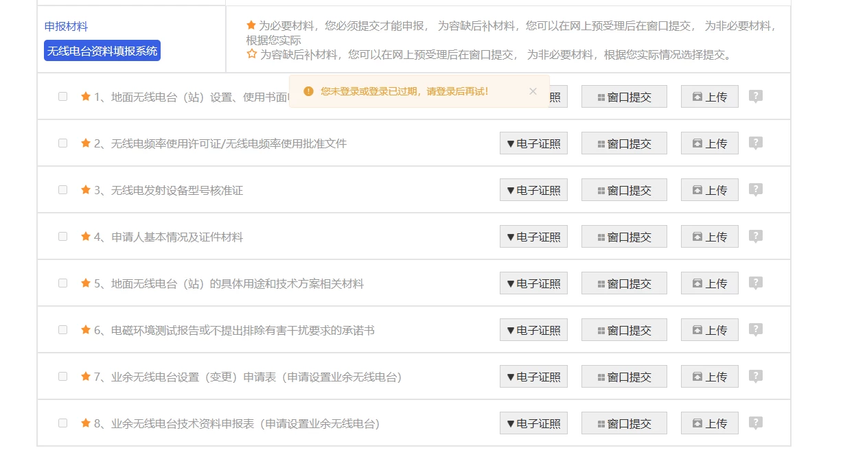
除了7为操作证和身份证
其他都是转化为pdf格式的资料
(未成年人需要户口本和家长的 身份证 户口本那一页 pdf表和正常人一样填写)未成年人填写方法不同请在上面的材料准备查看
材料处理说明:
所有材料(除操作证和身份证外)需整合成一个文件并且转换为PDF格式:顺序如下
-
- 无管申请表(打印后手写填写)
- 省际涉外申请书(如有需要)
- 扫描或拍照后合并为一个PDF文件
这个是分割线*************************************
本网站(灵矽矽,www.coolcpt.cn)为非盈利性个人技术分享平台。
1. 原创内容:本站所有标注“原创”的教程/文章,著作权均归本站所有。**未经书面授权,禁止任何形式的转载、复制或用于商业用途。
2. 第三方资源:站内引用的软件/资源均来自互联网公开渠道,**仅限用于《计算机软件保护条例》规定的“学习研究”目的。
3. 责任须知:用户使用本站内容需自行承担风险,违反本声明导致的版权纠纷或损失,由使用者全权负责。
【免责声明】






























[…] 请转到站长最新文章https://coolcpt.cn/770/ […]